Parametry
| Typ ložiska | kuličkové | |
|---|---|---|
| Zatížení | 160 kg | |
| Parametry dopravníkových válečků | ||
| Vnější průměr válce | 50x1,5 mm | |
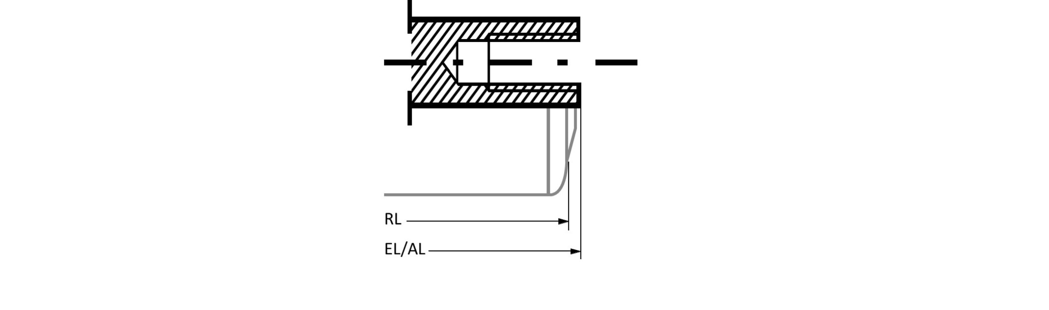
| RL | 594 mm | |
| EL | 600 mm | |
| AL | 600 mm | |
| Průměr hřídele | 12 mm | |
| Typ zakončení hřídele | vnitřní závit M8 | |
Popis
- nosný váleček z ocelového pozinkovaného plechu
- drážkové kuličkové ložisko
- vnitřní závit
RL = délka válce
EL = zástavbová délka
AL = délka hřídele
Česká firma
Zboží skladem
Odeslání do 24 hodin
Poradíme s výběrem

